
國家高新技術企業
廣東專精特新企業
英文站
網站地圖
車輛在使用情況下剎車時,在盤式制動器襯塊材料內部會產生很大的剪切應力,在鼓式制動器襯片中,剪切應力會因幾何效應而增大。國標GB/T 26739-2011規定了通過拉力機如何測試相應的剪切應力。本標準已于2012年3月起實施。
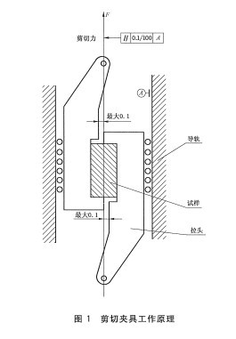
圖為所需的剪切夾具示意圖:

最少制備5件試樣,試樣受檢平面應與正常制動時的手里方向平行。試樣尺寸如下:長20MM,KUAN 20MM,厚5MM或10MM。
在拉力機上裝好剪切夾具,并安裝好試樣,以平均加載速率4500N/s進行加載,當剪切力高于5000N時,建議加載裝置瞬間加載速率浮動范圍上下不超過2250N/s.
剪切夾具上下兩部分,剪切力通過夾具與試樣兩者的中線,并于導軌平行,誤差不能超過規定范圍。
試驗機加載要平穩,不能有沖擊。直至襯片材料破裂為止。
試驗報告輸出最大力及剪切面積。